一、先是,网络流传一份娃哈哈关联公司2026年度的销售通知:为维护“娃哈哈”品牌使用的合规性,公司决定从2026年新的销售年度起,更换使用新品牌“娃小宗”......
一句话总结,娃哈哈掌门人宗馥莉控制的宏胜饮料,将启用新品牌“娃小宗”替代“娃哈哈”。
二、为什么更换品牌呢?
通知明确,“因复杂的历史相关问题不能在近期得到有效的解决,导致公司经营始终暴露在相关法律风险之下。因此,我们不得不做出以上的安排”
背后的深层原因,通知说的很明确,在现行股权架构下,“娃哈哈”商标的使用,须获得娃哈哈集团全体股东的一致同意,否则任何一方均无权使用。

三、发通知的是谁呢?
杭州娃哈哈宏辉食品饮料有限公司,该公司法定代表人是宗馥莉。
娃哈哈宏辉公司的唯一股东是宏宸公司,而宏宸公司的法定代表人也是宗馥莉。
宏宸公司的唯一股东是宏胜集团,众所周知,宏胜集团的实际控制人是宗馥莉。
就是这么曲径通幽、简单明了~
四、为什么是“娃小宗”
实际上,今年五月,娃哈哈就推出了一款名为“娃小宗”的茶饮料。
根据国知局公开信息,宏盛集团全类申请即申请了45件“娃小宗”商标:
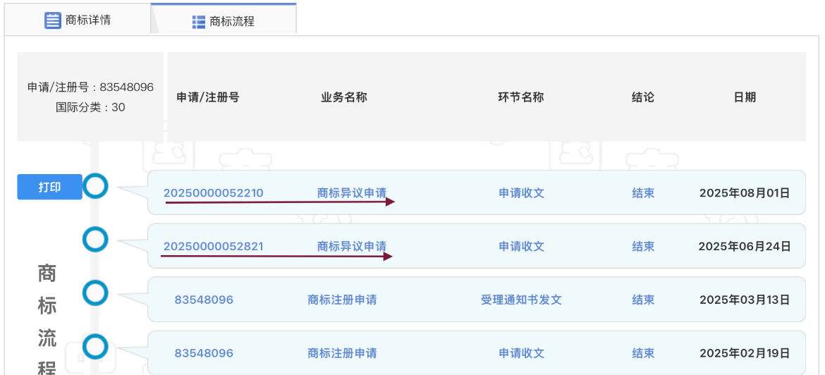
根据商标公告信息,“娃小宗”饮料系列商标都已经在4月27日初审公告,现在已经9月过半,商标都核准注册了吗?
奶饮料29类、茶饮料30类、水32类三个类别的“娃小宗”商标,分别被两个主体在6月和8月先后提出了异议。